Business

Nissan Has a New Tailgate Idea Designed for Longer Loads

Pickup Beds Should Work Smarter

A pickup is only as good as its bed. You're trading away the security and convenience of a closed trunk for hauling power, so the bed has to earn its keep. That's exactly what Nissan seems to be targeting with a new tailgate patent aimed at making the bed of the Frontier (or a future truck?) more versatile.

Filed at the US Patent and Trademark Office in October 2024 and published in April 2026 (patent no. 20260109410), the application details a tailgate with a second, movable panel built right into it. Instead of just one way to open it, you get multiple options for how the tailgate works.

USPTO
USPTO USPTO

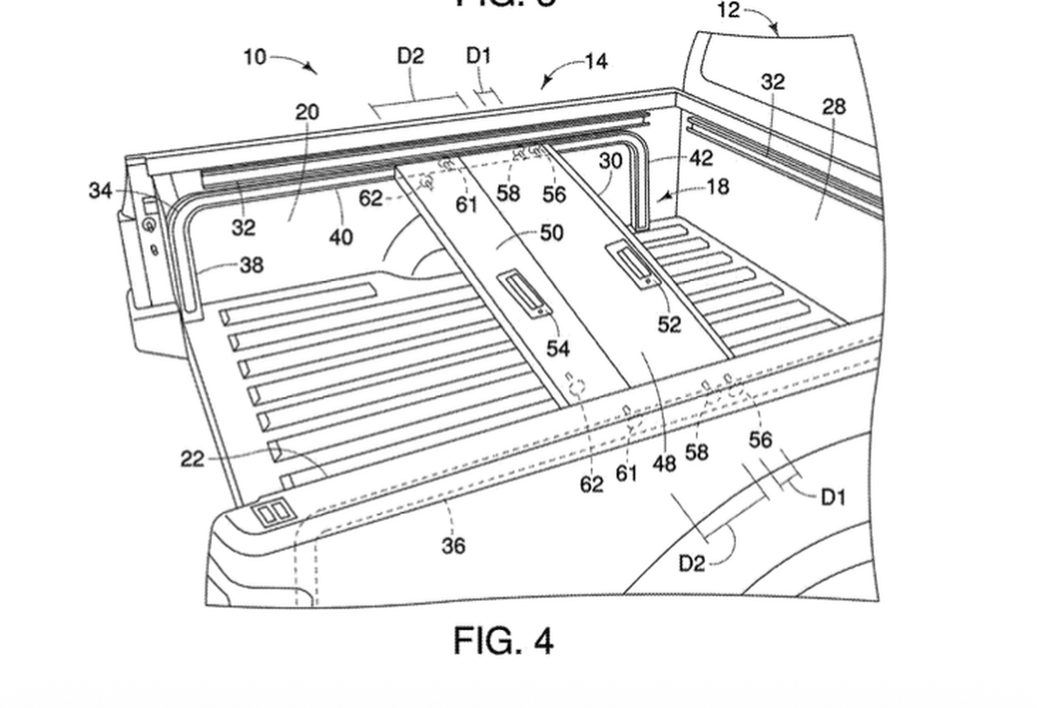
A Tailgate Within a Tailgate

At first glance, the patent sketches look like any other pickup tailgate. But look closer, and you'll spot the real trick: a smaller panel in the center that moves on its own, turning the whole thing into a split tailgate, albeit different from Ford's idea.

This inner panel can slide or shift using tracks, rollers, springs, or even an electric motor in some versions. So you can open the whole tailgate like usual, or just pop open part of it if your cargo calls for it.

Say you're hauling pipes, lumber, or anything that sticks out. Dropping the whole tailgate isn't always ideal. With this setup, you could just open what you need, letting long items poke out while keeping the rest of your gear secure.

The patent mentions different modes – unrestricted and restricted – so you get more than one way to use the tailgate. It's not about flashy gimmicks, just making the bed more useful for people who actually use their trucks.

USPTO
USPTO
View the 2 images of this gallery on the original article

Not Quite a MultiPro Rival

It's easy to compare this to GM's MultiPro Tailgate, but they're really tackling different problems. GM's MultiPro Tailgate is built around folding sections and multiple hinge positions. It can serve as a step, a workbench, a load stop, and an easier access point into the bed. It's essentially a multi-tool for the rear of the truck.

Nissan's idea goes a different way. No folding panels here – just a center section that moves. The focus is on smarter cargo access and easier load management, not turning the tailgate into a workbench.

Think of GM's system as a Swiss Army knife, while Nissan's feels more like an adjustable cargo gate.

Like any patent, there's no promise this will hit showrooms. Automakers file plenty of ideas that never leave the drawing board. But this one feels practical enough that it wouldn't be a shock to see it on a future Frontier or another Nissan truck.

USPTO
USPTO
View the 3 images of this gallery on the original article

Copyright 2026 The Arena Group, Inc. All Rights Reserved.

This story was originally published April 27, 2026 at 7:15 AM.

Get unlimited digital access
#ReadLocal

Try 1 month for $1

CLAIM OFFER